İletişim
Organize Sanayi Bölgesi 3. Cadde No:11 NEVŞEHİR / TÜRKİYE
info@neksanmekanik.com
+90 384 242 90 26
Anasayfa
Kurumsal
Hakkımızda
Fuarlar
Basında Biz
Vizyonumuz
Misyonumuz
Değerlerimiz
İSG Politikamız
Referanslar
Çevre Politikamız
Online Katalog
Belgelerimiz
Teknik Bilgiler
İptal ve İade Koşulları
Gizlilik ve Güvenlik
Memnuniyet Anketi
Ürünler
ANKRAJLAR
PROFİLLER
BAYRAKLAR & BRAKETLER
AYAR VIDALARI & PİMLER
YAPRAK & TEL ANKRAJLAR
KLİPSLER & FİTİLLER
CİVATALAR - VİDALAR - DÜBELLER
ÖZEL ANKRAJLAR
TELLİ TERBİYE SİSTEMLERİ
SARF MALZEMELERİ
MAKİNALAR
Referans & Proje
Sistemler
İletişim & Teklif
Anasayfa
Ürün Gruplarımız
Ankrajlar
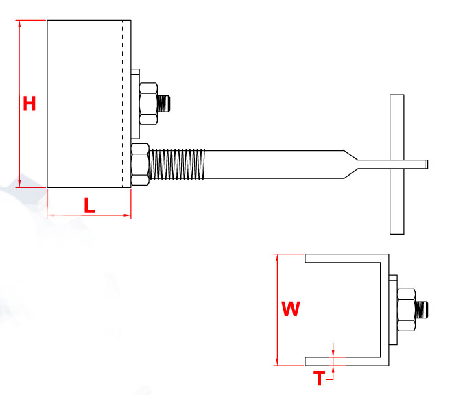
C Gövde Tipi 2
C Gövde Tipi 2
C Gövde Tipi 2
Ürün Kodu:
C Gövde Tipi 2
Etiketler:
C Ankraj Tipi 2 , C Gövde Tipi 2 ,
Ürün Özellikleri